This guide provides step-by-step instructions to diagnose and resolve the C1022-13 trouble code related to a coolant temperature sensor open circuit on JCB JS140, JS205, and JS215 excavators.
Related Contents:
2025 JCB ServiceMaster 4 v25.1.0 Free Download for Win 10 Win11
JCB Diagnostic tool
Possible Causes:
- The coolant temperature sensor wire harness is disconnected from the sensor.
- The coolant temperature sensor is faulty.
- Poor wire harness connection at the Machine Electronic Control Unit (MECU).
Diagnosis Steps:
-
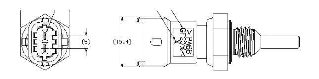
Check the Sensor Connection:

- Inspect the wire harness and ensure it is securely connected to the coolant temperature sensor on the engine.
- Refer to the provided photograph for proper connector positioning.
-
Measure Sensor Resistance:

- Use a multimeter to check the coolant temperature sensor’s resistance.
- At 80°C, the expected resistance should be approximately 323Ω.
- If the resistance reading is incorrect, the sensor may be faulty.
-
Inspect MECU Wiring:
- Verify that circuit 4069 (cavity 17) and circuit 4303D (cavity 3) are properly connected to the MECU.
- Ensure that the terminals in cavity 17 and cavity 3 are not loose or backed out.
Corrective Actions:
- Reconnect the wire harness securely to the coolant temperature sensor.
- Replace the coolant temperature sensor if it is defective.
- Ensure that the MECU is properly connected to the machine’s wire harness.
Following these steps should help resolve the C1022-13 error. If the issue persists, inspect the wiring for damage, corrosion, or broken connectors.
More topics for JCB machine,please refer to:JCB Machine Trouble Repair.